в раздел Оглавление
«Методы структурной психосоматики»
ЧАСТЬ ПЕРВАЯ
Базовые понятия.
Методологические и философские основы подхода.
ГЛАВА II
Структура и сущность. Ядерная зона
2.1. Развертывание структуры человеческого существа. Сущностная и личностная триады.
Во многих направлениях современной психологии, например, в телесно-ориентированном психоанализе или НЛП, используется понятие ядра личности. Однако нигде не разъясняется внутреннее устройство этого ядра, а также концептуальная необходимость введения в понятийный аппарат теории подобной категории. Еще хуже тот факт, что лирические отступления, рассуждения из арсенала религиозного проповедника, беллетристики не лучшего толка и даже отдельные попытки псевдоматематического подхода - все, что мы можем найти на эту тему в литературе, никак не увязывается с другими концепциями и, что еще важнее, не находит выражения в практической работе.
с точки зрения структурной психосоматики, личность - это индивидуальный способ отражения-отреагирования, базирующийся на вертикали «тело-душа-дух» и структурно организованный в виде логических уровней сознания.
Таким образом, личность - это совокупность определенных фазовых состояний вертикали, каждое из которых определяется своей собственной топологией структурной организации, своим состоянием сознания (следует иметь в виду, что такое состояние предполагает и осознаваемое и бессознательное, и духовные, и психические, и телесные феномены). Выше было показано, что понятие «ядро личности» может быть соотнесено с глубинными структурными механизмами отражения-отреагирования. Глубинным же образованием вертикали «тело-душа-дух» мы должны считать зону духа, «главного» или, может, «частного в главном» (Атман) - Я, самоидентификации и волений. Существует, однако, и еще один аспект. Основой человека, как активной биологической единицы, следует полагать сумму наследственных свойств и качеств, образующих геном человеческого существа и ряд образующихся в его рамках генотипов. Реализованные на базе ряда информационных носителей, генотипы являются конкретными отправными точками, от которых в процессе роста и развития развертывается все психосоматическое единство человеческого существа, его вертикаль и ортогональная по отношению к ней ось отражения-отреагирования, определяющая состояние личности.
Генотип, таким образом, представляет собой читаемый или проявленный участок генома, который, транслируясь, что неизбежно порождает те или иные ошибки, и под воздействием природной среды, также оказывающей травмирующее влияние, выражается в виде фенотипа. На базе последнего формируется вертикаль «тело-душа-дух». В процессе отражения-отреагирования эти вертикальные структуры проявляют себя как личность.
Итак, геном, ограниченный рамками генотипа, реализуется в искаженном виде в конкретном человеческом существе как фенотип, развертывающийся в вертикаль; взаимодействие последней с «внешней» реальностью и порождает личность.
Сущность - это идеальное развертывание генотипа в вертикаль «тело-душа-дух». Совокупность способов отражения-отреагирования, формирующихся на базе сущности, представляет собой сущностную личность.
Таким образом, на этом этапе описания мы можем выделить следующие структурные составляющие человеческого существа:
- геном и его читаемые зоны-генотипы;
- сущность - безошибочное развертывание генотипов в вертикаль; если такое развертывание происходит на базе целостного генома, будем говорить о полностью реализованной сущности;
- сущностную личность, возникающую как индивидуальный способ отражения-отреагирования во взаимодействии сущности с «внешней» реальностью; если при этом центр осознания расположен на седьмом логическом уровне будем говорить о реализованной сущностной личности; если в этом случае мы имеем дело с полностью реализованной сущностью, то перед нами полностью реализованная сущностная личность;
- фенотип - трансляция генотипа в конкретную форму человеческого существа; если основой такой трансляции является целостный геном, будем говорить о полностью реализованном фенотипе;
- вертикаль «тело-душа-дух», разворачивающаяся на основе фенотипа; если основой такого развертывания служит полностью реализованный фенотип, будем говорить о полностью реализованной вертикали;
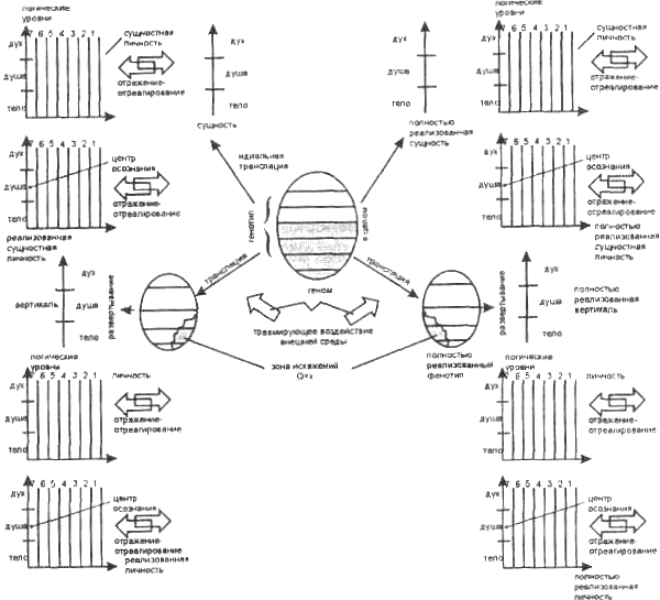
- личность, представляющую собой совокупность индивидуальных способов отражения-отреагирования во взаимодействии с «внешней» реальностью; если центр осознания личности расположен на седьмом логическом уровне сознания, будем говорить о реализованной личности; если при этом такая личность возникает на базе полностью реализованной вертикали - это полностью реализованная личность (рис.11).

Рис.11. Схема развертывания структуры человеческого существа
Геном - сущность - сущностная личность, с одной стороны, и фенотип - вертикаль - личность, с другой - представляют собой как бы две независимые триады, первая из которых мыслится, на первый взгляд, лишь как потенция, некоторый идеальный образ. Это не так.
сущностная триада (геном-сущность-сущностная личность) реально присутствуют в структуре человеческого существа наряду с текущей триадой (фенотип-вертикаль-личность).
Наличие (реальное, а не потенциальное) генома в этой структуре не подлежит сомнению. Причем именно он и является той базовой матрицей, на основании которого происходит фрактальное развертывание психосоматического единства в целом. Анализируя его, мы должны констатировать наличие ядерной зоны.
Ядерная зона - это совокупность глубинного слоя организации генома человеческого существа (уровне Адама) и развернутых на его основе сущности (уровень ядра сущности - сущностного духа) и сущностной личности (ядро сущностной личности).
Геном в целом, и прежде всего зона Адама, в течение всей жизни человека является источником управляющих, нормализующих и организующих импульсов, которые, преломляясь через вертикаль и личность, выражаются в виде воли. Их можно описать как некоторые вибрации, излучения, пронизывающие кристалл, - ему может быть уподоблено структурное единство человеческого существа. Отсюда следует, во-первых, что геном постоянно стремится превратить текущую триаду в сущностную, и, во-вторых, что некая возможность для любого человеческого существа всегда реально наличествует (рис.12 и 13). Иными словами, каждый может стать полностью реализованной личностью. Наконец, эти вибрации реально порождают сущностную структуру.
Данный факт может быть представлен при помощи аналогии. В физике описывается следующее явление, наблюдаемое при росте монокристаллов из насыщенного раствора: мы всегда можем обозначить границы роста, далее которой собственно кристаллическая решетка еще не сформирована, однако приборными методами обнаруживаются некоторые пространственные аномалии в точках, где узлов кристалла еще нет, но они должны образоваться в процессе дальнейшего роста. Поскольку геном является постоянным генератором нормализующих импульсов, реальное в структурном смысле присутствие сущности и сущностной личности становится неизбежным. Оно может быть зафиксировано и фиксируется в наблюдении.
Структурно сущность и сущностная личность организованы подобно геному - как монокристалл. Если структуры текущей триады все более уподоблены структуре триады сущностной, тем самым и она принадлежит к монокристаллическому идеалу. Ясно, что на практике искажения генотипа многочисленны; в рамках рассматриваемой модели они могут быть описаны как нарушения кристаллической решетки сущности - всякого рода дислокации, дефекты, включения и асимметрии, вплоть до распада монокристалла на поликристаллический конгломерат.
Итак, ядерная зона, «видимая сквозь призму» ядерной зоны текущей триады (аналогичной первой по своему составу) может быть соотнесена с Я человека, с Я, очищенным от совокупности социально и культурально обусловленных отношений индивида к другим индивидам и проявлениям реальности, а истекающие от ядерной зоны вибрации - с волением «Я хочу!», или, точнее, «Я хочу быть», понимаемым как метафоры всей совокупности его структурных потенций.

Рис.12. Развитие структуры человеческого существа
Подлинная управляющая структурой активность присуща только геному. Это значит, что не имеющие собственной активности нарушения структуры подпитываются постоянной активностью ядерной зоны, но вместо того, чтобы транслировать фрактальный эквивалент воспринятой вибрации, они продуцируют собственный импульс. Этот импульс неизбежно содержит часть изначального сигнала, но в искаженном виде и с присоединением изоморфных своему источнику команд. Хорошей метафорой описываемого явления может служить феномен переизлучения: так рубиновый лазер изначален не сам по себе, а лишь под воздействием ламп накачки - далее его атомы генерируют собственное излучение.
Из сказанного ясно, какие именно состояния характеризуются терминами «ресурсное» и «нересурсное»[1].
Первые связаны с функционированием элементов человеческого существа, в наибольшей степени структурно совпадающих с соответствующими элементами сущностной триады, наиболее прозрачных для вибраций ядерной зоны; вторые - с делительностью наименее сущностных элементов, замедляющих воление зоны Адама. Как будет показано, и первым, и вторым соответствуют вполне определенные психо-соматические феномены.
Таким же прозрачным становится и понятие внутренних конфликтов, которые могут быть разделены на сущностные и периферические. Первые связаны с одновременным присутствием двух структур: структуры сущностной триады и триады текущей, - с напряжениями между ними. Вторые - это конфликты между элементами человеческого существа, каждый из которых несущностен; ясно, что они не могут быть структурно согласованы между собой. Заметим, что наличие периферических конфликтов обязательно свидетельствует и о наличии сущностных.
Кроме того, становятся ясными и такие понятия, как неполное развитие и неполная реализация. Неполное развитие - это формирование фенотипа на базе генотипа, не тождественного целостному геному, а неполная реализация - неумение перемещать центр осознания в зону ядра личности (рис.13).
Заметим - и это будет показано, - что практически любые нарушения структуры могут быть скорректированы. Более того, такая цель и есть путь истинного развития личности, подлинная жизненная цель. Естественно, такая коррекция требует существенных волевых усилий и определенных технических действий, общие черты которых будут нами освещены.
Очевидно, что зоной наименьших искажений является ядерная зона текущей триады - здесь человеческое существо, разделенное на сущностную и несущностную части, как бы смыкается с самим собой. Точнее, почти смыкается в самом себе, что позволяет нам предложить новую модель описания (рис.14). Здесь две триады изображены в виде двух ортогональных осей координат[2].

Рис.13. Дефекты структуры
а) вибрации в ядре в виде волений «Я хочу!»;
б) ложный центр;
в) нересурсное состояние;
г) сущностный конфликт;
д) периферический конфликт;
е) неполное развитие;
ж) неполная реализация.

Рис.14. Модель структуры человеческого существа.
а) две триады и плоскость раздела;
б) развитие;
в) модель полностью реализованной сущностной личности.
Первую триаду образуют ось вертикали «дух-душа-тело», ось отражения-отреагирования (личности) с уровнями, соответствующими логическим уровням сознания, и ось развития (фенотипа). Вторую триаду - ось сущности (зеркально симметричная вертикали), ось отражения-отреагирования (сущностной личности) с соответствующими сущностными логическими уровнями сознания (она зеркально симметрична оси личности), и оси развития (генотипа) (она зеркально симметрична оси фенотипа). В дальнейшем для нас будет представлять особый интерес точка центра симметрии и плоскость раздела (плоскость симметрии). Сейчас же мы отметим, что именно в этой точке в потенции смыкаются структуры полностью реализованной сущностной личности, путь к которой можно представить как встречное движение трехмерных ортогональных триад. (Мы выделяем личность именно потому, что именно через нее и ее состояние раскрывается структура человеческого существа - ведь и познание, в том числе и человека, и самосознание - это тоже процессы отражения-отреагирования.)
В традициях очень часто первую триаду (сущностную) называют собственно человеком, а вторую (текущую) - тенью.
[1]Примером ресурсного состояния можно считать вдохновение, примером нересурсного - скуку.
[2]Не следует забывать, что структура фрактальна. Наша модель тоже фрактальна (рис. 16).